products class
產品分類news
新聞推薦Service Centre
服務中心咨詢報價:18638277136(陳總)
技術指導:13849173666(陳工)
郵箱:hnlzpipe@126.com
國內熱線:0371-64018718
地址:鞏義市西村鎮西村
網址:http://www.dayangmei.cn
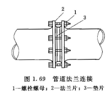
法蘭是管道之間、管道與設備之間的一種連接裝置
法蘭是管道之間、管道與設備之間的一種連接裝置。在管道工程中,凡需要經常檢修或定期清理的間門、管路附屬設備與管子的連接一般采用法蘭連接。法蘭包括上下法蘭片、墊片和螺栓螺母三部分。管道法蘭連接如圖所示。
1. 法蘭的種類
管道法蘭按與管子的連接方式可分為五種基本類型:平焊法蘭、對焊法蘭、螺紋法蘭、承插焊法蘭、松套法蘭。法蘭結構如圖所示。
法蘭的密封面型式有多種,一般常用有凸面、凹面、凹凸面、樺槽面、全平面、環連接面。
(1 )平焊鋼法蘭。適用于公稱壓力不超過2. 5MPa 的碳素鋼管道連接。平焊法蘭的密封面可以制成光滑式、凹凸式和棒槽式三種。光滑式平焊法蘭的應用量最大,多用于介質條件比較緩和的情況下,如低壓非凈化壓縮空氣、低壓循環水,它的優點是價格比較便宜。對焊鋼法蘭用于法蘭與管子的對口焊接,其結構合理,強度與剛度較大,經得起高溫高壓及反復彎曲和溫度波動,密封性可靠.公稱壓力為0.25 ~ 2. 5MPa 的對焊法蘭采用凹凸式密封面。
(2 )承插焊法蘭。常用于PN<10. OMPa, DN<40 的管道中。
(3 )松套法蘭。松套法蘭俗稱活套法蘭、分焊環活套法蘭、翻邊活套法蘭和對焊活套法蘭,常用于介質溫度和壓力都不高而介質腐蝕性較強的情況。當介質腐蝕性較強時,法蘭接觸介質的部分〈翻邊短節)為耐腐蝕的高等級材料如不銹鋼等材料,而外部則利用等級材料如碳鋼材料的法蘭環夾緊它以實現密封。
( 4 )整體法蘭。常常是將法蘭與設備、管子、管件、閥門等做成一體,這種型式在設備和閥門上常用。
2. 襯墊
法蘭襯墊根據輸送介質選定,制墊時,將法蘭放平,光滑密封面朝上,將墊片原材蓋在密封面上,用水錘輕輕敲打,刻出輪廓印,用剪刀或鑿刀裁制成形,注意留下安裝把柄。加墊前,須將密封面刮干凈,高出密封面的焊肉須挫平。法蘭應垂直于管中心。加墊時應放正,不使墊圈突入管內,其外圓到法蘭螺栓孔為宜,不妨礙螺栓穿入。禁止加雙墊、偏墊,且按襯墊材質選定在其兩側涂抹的鉛油等類涂料。
3. 法蘭連接方法
法蘭連接的過程一般分三步進行,首先將法蘭裝配或焊接在管端,然后將墊片置于法蘭之間,最后用螺栓連接兩個法蘭并擰緊,使之達到連接和密封管路的目的。
法蘭連接時,無論使用哪種方法,都必須在法蘭盤與法蘭盤之間墊適應輸送介質的墊圈,而達到密封的目的。法蘭墊圈應符合要求,不允許使用斜墊圈或雙層墊圈。連接時,要注意兩片法蘭的螺栓孔對準,連接法蘭的螺栓應使用同一規格,全部螺母應位于法蘭的一側。緊固螺栓時應按照圖所示次序進行,大口徑法蘭最好兩人在對稱位置同時進行。緊固法蘭螺栓次序如圖所示。
(1 )凡管段與管段采用法蘭盤連接或管道與法蘭間門連接者, 必須按照設計要求和工作壓力選用標準法蘭盤。
(2 )法蘭盤的連接螺栓直徑、長度應符合規范要求,緊固法蘭盤螺栓時要對稱擰緊,緊固好的螺栓外露絲扣應為2 ~ 3 扣,不宜大于螺栓直徑的1/2 。
(3 )法蘭盤連接襯墊,一般給水管(冷水)采用厚度為3mm 的橡膠墊,供熱、蒸汽、生活熱水管道應采用厚度為3mm 的石棉橡膠墊。墊片要與管徑同心,不得放偏。
(4 )法蘭裝配z 采用成品平焊法蘭時,必須使管與法蘭端面垂直,可用法蘭彎尺或拐尺在管子圓周上最少3 個點處檢測垂直度,不允許超過±lmm ,然后點焊定位,插入法蘭的管子端部距法蘭密封面應為管壁厚度的1. 3~ 1. 5 倍,如選用雙面焊接管道法蘭,法蘭內側的焊縫不得突出法蘭密封面。
法蘭裝配施焊時,如管徑較大,要對應分段施焊,防止熱應力集中而變形。法蘭裝配完應再次檢測接管垂直度,以確保兩法蘭的平行度。連接法蘭前應將其密封面刮凈,焊肉高出密封面應鏗平,法蘭應垂直于管子中心線,外沿平齊,其表面應互相平行。
(5 )緊固螺栓:螺栓使用前刷好潤滑油,螺栓以同→方向穿入法蘭,穿入后隨手戴上螺帽,直至用于擰不動為止。用活扳手加力時必須對稱十字交叉進行,且分2 ~ 3 次逐漸擰緊,最后螺桿露出長度不宜超過螺栓直徑的1/2 。活扳手的規格見表。
法蘭盤或螺栓處在狹窄空間、特殊位置及回旋空間極小時,可采用梅花扳手、手動套筒扳手、內六角扳手、增力扳手、棘輪扳手等。

掃二維碼聯系在線客服